河南省职业院校实习备案指导老师端主要是为实习指导老师提供线上实习管理服务,登录账号由学校管理员或二级院系管理员在院校端自行设置。本系统旨在方便指导老师管理学生的实习情况,提升工作效率,主要功能有实习进度管理、实习评价管理、实习投诉管理、实习解约管理以及实习总结管理等。
1.登录
指导老师打开系统后进入登录界面,输入用户名和密码,完成图片验证,点击【登录】,进入系统。首次登录需要完善账户基本信息并修改密码后激活账户,账户初始密码为Sxba@2021。


如果忘记密码,则点击登录界面的【忘记密码】,根据账号、手机验证码重置密码。



2.系统首页
登录成功进入【系统主页】,有投诉记录、解约申请、带队人数、合作企业以及实习结束超时提醒,点击可进入相应详情界面。

3.实习管理
在学校或二级院系完成实习学生的编班分组、指定实习指导老师之后,实习指导老师便开始对所负责的学生进行管理,包括实习进度管理、实习出勤管理、实习评价管理、实习评价管理、实习投诉管理、实习解约管理、实习荣誉管理、实习总结管理。
3.1实习进度管理
学生在出发去实习企业时、学生在完成实习任务时以及学生实习需要延期时,需要指导老师在此处完成实习进度更新。指导老师可以一次选择多个实习小组或多个实习学生进行批量处理。

在学生出发去实习企业时,选择实习小组或实习学生,点击【实习出发】,确认学生已经出发。学生实习出发时间为学生实习的开始时间。学生到岗后,须得到企业确认后实习状态才能进入实习中。

在学生完成实习任务时,选择实习小组或实习学生,点击【完成实习】,确认学生已经完成实习任务,系统自动形成实习总结,此操作时间为学生实习结束时间。在实习时间未延期的情况下,如果实习完成时间超出学校此次实习计划的结束时间,那么学生的实习完成时间自动更改为学校实习计划的结束时间。

在学生实习需要延期时,选择实习学生,点击【实习延期】,输入延期原因及延期时间,点击【提交】,完成学生实习延期处理。实习延期后,学校实习计划结束时间加上延期天数为该生的最晚实习结束时间,在最晚实习结束时间之前,指导老师可以随时终止或者完成学生的实习任务。


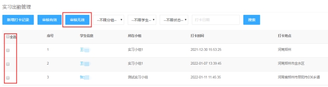
3.2实习出勤管理
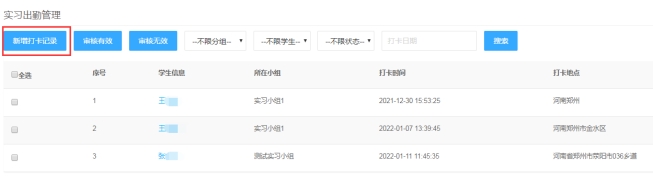
实习期间,指导老师可查看、管理学生在手机APP端的打卡出勤记录,根据实际情况审核通过或不通过学生的打卡信息,还可以根据学生的申请新增打卡记录。

选择打卡记录,点击【审核有效】,确认学生打卡信息有效。

选择打卡记录,点击【审核无效】,确认学生打卡信息无效。

点击【新增打卡记录】,选择学生,输入打卡地点、打卡时间,点击【提交保存】,完成新增打卡记录操作。


3.3实习评价管理
在学生实习期间,指导老师对学生实习情况进行过程性评价,可以给予一个学生多次评价。

点击【新增评价】,选择学生,点击【选好实习生,点击前去添加评价】,进入实习评价界面,完善学生实习表现和学生实习评语,点击【提交评价】,完成新增评价操作。



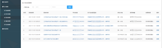
3.4实习投诉管理
学生在企业实习过程中,认为企业实习情况与线上备案情况不符的,可以向实习指导教师和学校进行线上投诉,指导教师和学校在规定时间内予以调查、确认和处理。

点击【实习投诉管理】操作栏的【处理】处理学生的投诉信息,处理之后的数据只能点击【查看】查看学生的投诉信息和处理情况。

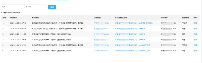
3.5实习解约管理
学生选择停止当前实习的,须学校或指导老师沟通处理。

点击【实习解约处理】操作栏的【处理】处理学生的解约信息,处理之后的数据只能点击【查看】按钮查看学生的解约信息和处理情况。

3.6实习荣誉管理
对于实习期间表现优秀的学生,学校或企业可给予相应实习荣誉。

点击【实习荣誉管理】,选择要添加实习荣誉的学生,点击【新增荣誉记录】,输入荣誉名称、荣誉说明和获得时间,上传荣誉证书照片文件,点击【提交保存】,完成新增荣誉操作。


点击荣誉记录栏的【荣誉名称】即可查看荣誉详情。点击详情里【删除记录】,即可删除该荣誉记录。只有添加该荣誉记录的管理员有删除权限,其他管理员只能查看,不可以删除。

3.7实习总结管理
指导老师确认学生实习完成之后,系统自动形成实习总结。

点击【实习总结】查看实习总结详情。

修改密码
点击左侧【修改密码】栏,按页面要求输入原密码、新密码。确认两次输入的新密码一致,点击【保存新密码】完成操作。密码至少包含字母、数字,且不少于8位。
